Shenzhen Xavier component company limited
Главная> новости> Пример токарной обработки с ЧПУ — детали вала

Пример токарной обработки с ЧПУ — детали вала

2026,03,19
Токарный станок с ЧПУ – это высокоточное обрабатывающее оборудование, используемое для обработки различных деталей. Детали вала — это распространенный тип деталей и одна из наиболее часто обрабатываемых на токарном станке с ЧПУ деталей. При обработке деталей вала заготовка сначала должна быть зажата, а затем в соответствии с требованиями должен быть выбран подходящий режущий инструмент и соответствующая скорость резания и скорость подачи. Благодаря написанию и отладке программы ЧПУ можно точно обрабатывать детали валов.
Далее будут представлены анализ процесса и обработкадеталей вала на станке с ЧПУ :

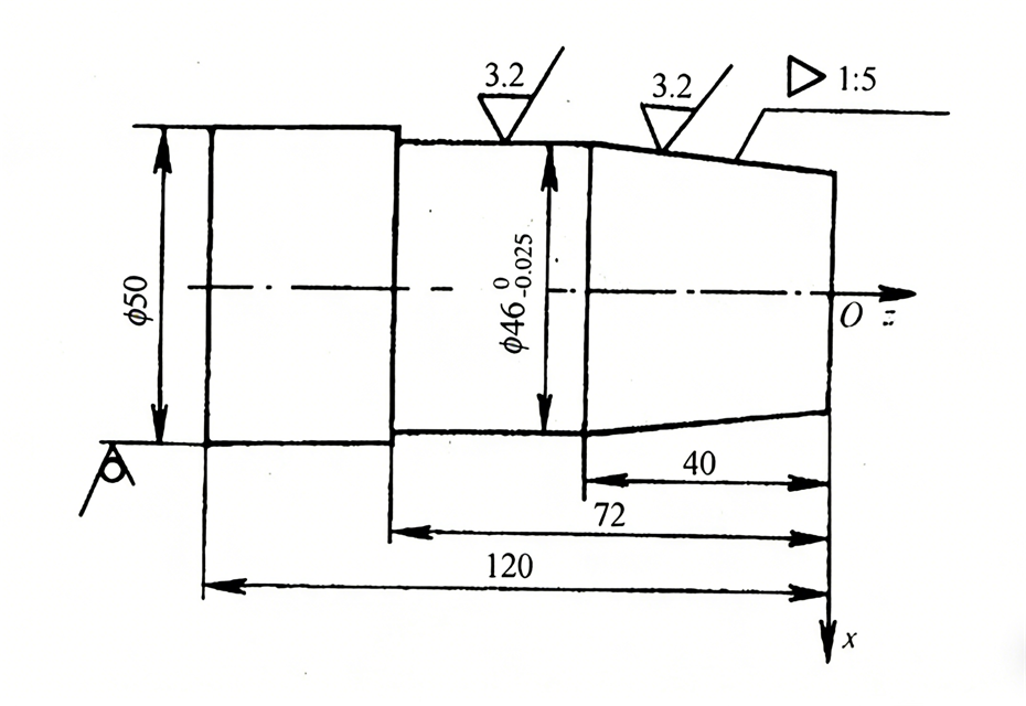
1. Анализ чертежа детали.

Drawings for CNC turning of shaft parts
Как показано на чертеже, эта деталь состоит из внешней конической поверхности и внешней цилиндрической поверхности, относящихся к категории вала. На внешнем цилиндре диаметром ⌀50 мм обработка не производится, а на внешнем цилиндре диаметром ⌀46 мм требуется более высокая точность обработки. Материал — сталь 45. Выбранный размер заготовки: ⌀50 мм × L120 мм.

2. Определение схемы обработки и маршрута обработки.

Система координат заготовки устанавливается с центральной точкой O на правом конце детали в качестве начала координат. В зависимости от точности размеров и требований к процессу обработка делится на два этапа: черновое точение и чистовое точение. Предлагаемая последовательность действий следующая:
Обточка правого торца → Черновая обточка внешнего цилиндра на ⌀46,5мм → Черновая обточка внешнего цилиндра с шагом ⌀43,5мм×L25мм → Черновая обточка внешнего цилиндра с шагом ⌀40,5мм×L10мм → Черновая обточка внешней конической поверхности → Завершающая обточка внешней конической поверхности → Завершающая обточка внешнего цилиндра на ⌀60мм (выполнение черновой и чистовой обработки в порядке выполнения операций).

3. Зажим детали и выбор приспособления

Для зажима используется стандартный трехкулачковый патрон на токарном станке с ЧПУ. Заготовка выступает за патрон примерно на 90 мм. После зажима выполняется центровка для обеспечения надежного зажима, отвечающего требованиям жесткости и концентричности последующих токарных операций.

4. Выбор инструмента и параметров резания

CNC turning of shaft parts
Выбор инструмента: Инструмент № 1 — это твердосплавный инструмент со смещением под углом 90°, подходящий для черновых и чистовых операций.
Параметры резания: Чтобы сбалансировать точность обработки и стойкость инструмента, скорость шпинделя определяется как n = 630 об/мин; для подачи F = 0,2 мм/об для черновой обработки и F = 0,1 мм/об для чистовой обработки.
Меры предосторожности: При зажиме инструмента убедитесь, что кончик инструмента находится на той же высоте, что и центр вращения заготовки; в противном случае в центре торца образуется выступ или повреждается острие инструмента при токарной обработке.

5. Полный лист программы токарной обработки деталей вала на станке с ЧПУ.

№10 G50 X100.0 Z100.0 Настройка системы координат заготовки
N20 S630 M03 T11 Вращение шпинделя вперед (n=630 об/мин), вызов Инструмента №1, коррекция инструмента №1
N30 G00 X52.0 Z0.0 Быстрое позиционирование
N40 G01 X0.0 F0.2 Поворот правого торца
Н50 G00 Z1.0 Быстрое позиционирование
N60 Х46,5
N70 Г01 З-72.0 Черновая обработка наружной цилиндрической поверхности на ⌀46,5 мм.
N80 Х50.0 Шаг поворота
N90 G00 Z1.0 Быстрое позиционирование
Н100 Х43,5
N110 G01 Z-25.0 Черновая обработка наружной цилиндрической поверхности ступени до ⌀43,5 мм×L25 мм
N120 Х46,5 Шаг поворота
N130 G00 Z1.0 Быстрое позиционирование
N140 Х40,5
N150 G01 Z-10.0 Черновая обработка наружной цилиндрической поверхности ступени до ⌀40,5 мм×L10 мм
N160 Х43,5 Шаг поворота
N170 G00 Z0.0 Быстрое позиционирование
N180 Х38,5
N190 G01 X46.5 Z-40.0 Черновая обработка наружной конической поверхности
Н200 G00 Z0.0 Быстрое позиционирование
N210 Х38.0
N220 G01 X46.0 Z-40.0 F0.1 Завершить обтачивание внешней конической поверхности.
N230 Z-72.0 Чистовая обработка наружной цилиндрической поверхности ⌀60 мм.
N240 Х50.0 Шаг поворота
Н250 G00 X100.0 Z100.0 T10 Быстро вернуться в исходную точку инструмента, отменить компенсацию инструмента № 1.
Н260 М05 Остановка вращения шпинделя
N270 М30 Конец программы
Свяжитесь с нами

Автор:

Mr. xavierparts

Электронная почта:

becky8726@xavier-parts.com

Phone/WhatsApp:

13006687216

Популярные продукты
Вам также может понравиться
Связанные категории

Письмо этому поставщику

Тема:
Переместить:
Эмайл:
Сообщение:

Ваше сообщение должно быть в пределах 20-8000 символов

  • Запрос

Copyright © 2026 Shenzhen Xavier component company limited Все права защищены.

We will contact you immediately

Fill in more information so that we can get in touch with you faster

Privacy statement: Your privacy is very important to Us. Our company promises not to disclose your personal information to any external company with out your explicit permission.

Отправить